卫生资格考试题库
历年真题 人机对话 模拟试卷
免费下载
当前位置:首页 > 考试动态 > 报考指南
提醒:卫生资格报名审核后考生务必完成这件事,否则视为自动放弃考试!
发布日期:2022-01-10 09:44:42浏览次数:2503

2022年卫生专业技术资格考试报名阶段已经结束,接下来就是网上缴费阶段,这个阶段至关重要,未在规定时间内进行缴费的视为自动放弃考试。

北京、天津、河北、内蒙古、辽宁、吉林、黑龙江、上海、江苏、浙江、安徽、福建、江西、山东、河南、湖南、广东、广西、海南、重庆、四川、西藏、宁夏、新疆兵团考区开通了网上缴费功能。

考生通过考点、考区资格审核后,须在2022年2月26日前登录网上报名系统完成网上缴费,未在规定时间内进行缴费的视为自动放弃考试。受疫情因素影响,2022年卫生专业技术资格考试各省现场审核要求不同!

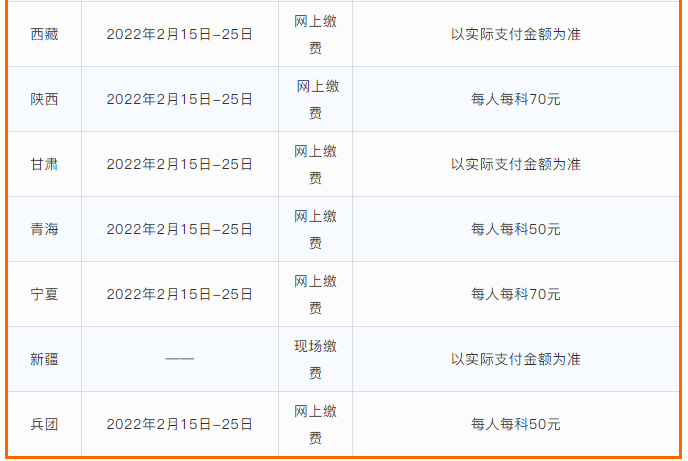
报名缴费方式汇总

如果您在汇总信息中没有看到所在地区2022年卫生专业技术资格考试报名缴费时间、方式,请同时留意各地卫生相关部门官方通知,以当地考区要求为准。








友情链接:
咨询热线:
0335-8362050
[ 微信:kszhiji008 ]
考试知己平台下载
电脑版下载
手机版下载
联系我们
  • 联系电话: (固话)0335-8362050
    (手机)13315654329
  • Q Q号码:3356086872
  • 联系地址:秦皇岛市科泰创新工场505室
秦皇岛水滴网络科技有限公司 © 考试知己
违法和不良信息举报电话:0335-8362050